سیستم خنککاری

1. رادیاتور
2. محفظه ترموستات
3. ترموستات
4. منبع انبساط
5. ریتاردر (در صورت وجود)
6. سنسور دمای مایع خنککننده
7. کمپرسور هوا
8. خنککننده روغن گیربکس
9. پمپ آب (مایع خنککننده)
10. پوشش کانال مایع خنککننده
11. سنسور سطح مایع خنککننده
12. بخاری کابین
13. کلاچ پمپ آب
14. پیچ تخلیه مایع خنککننده برای خنککننده روغن
15. خروجی از رادیاتور به ترموستات
16. برگشت مایع خنککننده از کمپرسور هوا و گیربکس
17. ورودی مایع خنککننده به کمپرسور هوا و گیربکس
18. برگشت مایع خنککننده از بخاری کابین
19. برگشت مایع خنککننده از پمپ AdBlue®
20. ورودی مایع خنککننده به بخاری کابین
سیستم خنککاری دمای موتور را کنترل کرده و از داغ شدن بیش از حد آن جلوگیری میکند.
همچنین این سیستم مایع خنککننده را به اجزای زیر تأمین میکند:
• خنککننده روغن
• کمپرسور هوا
• خنککننده روغن گیربکس
• بخاری کابین
گردش سیستم خنککاری

پمپ آب (1) مایع خنککننده را از طریق خنککننده روغن (3) که روی درپوش خنککننده روغن نصب شده، به گردش درمیآورد. بخشی از مایع خنککننده از طریق سوراخهای (2) به جکتهای خنککننده پایینی سیلندر وارد میشود. بیشتر مایع خنککننده از طریق سوراخهای (4) به جکتهای خنککننده بالایی سیلندر جریان پیدا میکند. سپس مایع خنککننده از طریق کانالهای (5) وارد سرسیلندر میشود.
سرسیلندر دارای یک دیواره افقی است که مایع خنککننده را مجبور میکند از داغترین بخشها عبور کند تا دفع حرارت بهطور مؤثر انجام شود. پس از آن، مایع خنککننده از طریق ترموستات (6) عبور کرده و یا به سمت رادیاتور هدایت میشود یا از طریق لوله (7) دوباره به پمپ آب بازمیگردد. جهت جریان مایع خنککننده به دمای آن بستگی دارد.
مایع خنککننده برای کمپرسور هوا (8) و گیربکس از طریق شیلنگها به گردش درمیآید.
مایع خنککننده مربوط به سیستم AdBlue® نیز از طریق شیلنگها به گردش درمیآید.
واترپمپ

پمپ آب از نوع گریز از مرکز بوده و با کلاچ الکترومغناطیسی و تسمه کار میکند. این کلاچ الکترومغناطیسی امکان کارکرد پمپ آب را در دو سرعت فراهم میکند: سرعت نرمال زمانی که موتور به خنککاری بیشتری نیاز دارد و سرعت پایینتر زمانی که موتور به خنککاری کمتری نیاز دارد. کنترل پمپ آب توسط ECM (واحد کنترل موتور) انجام میشود. بدنه پمپ آب از جنس آلومینیوم ساخته شده است.
در حالت سرعت نرمال، کلاچ الکترومغناطیسی فعال (با تغذیه باتری) شده و پروانه داخل پمپ آب با همان سرعت پولی بیرونی میچرخد. هنگامی که نیاز به خنککاری کاهش مییابد، کلاچ الکترومغناطیسی غیرفعال شده (تغذیه برق صفر میشود) و یک عملکرد لغزش مغناطیسی باعث کاهش سرعت پروانه نسبت به پولی میگردد. از آنجا که عملکرد لغزش به صورت مغناطیسی است، قطعات داخلی کلاچ دچار سایش نمیشوند.
پمپ آب در دو سایز مختلف پولی موجود است:
• پولی کوچکتر، که خروجی بالاتری ایجاد کرده و مناسب خودروهایی با ریتاردر است که به خنککاری بیشتری نیاز دارند.
• پولی بزرگتر، برای خودروهای بدون ریتاردر.
در قسمت پشتی پمپ آب کانالهایی برای توزیع مایع خنککننده وجود دارد و در قسمت جلویی آن پروانه پلاستیکی، کاسهنمد محور، بلبرینگ و پولی با کلاچ الکترومغناطیسی قرار دارند. بلبرینگ محور از نوع غلطکی ترکیبی بوده و به صورت دائمی گریسکاری شده است.

توجه
آببندی بین پروانه و بلبرینگ در پمپ آب توسط مایع خنککنندهای که از آببند عبور میکند، روانکاری میشود. به همین دلیل، رسوب خشکشده مایع خنککننده در اطراف سوراخ تخلیه جمع میشود. این تجمع رسوب کاملاً طبیعی بوده و به معنای نیاز به تعویض پمپ آب نیست.
ترموستات

ترموستات گردش مایع خنککننده از نوع پیستونی با بدنه مومی حساس به دما است که باز و بسته شدن را تنظیم میکند.
محل قرارگیری ترموستات بسته به وجود ریتاردر متفاوت است:
• در سرسیلندر (1) برای خودروهای بدون ریتاردر
• در محفظه ترموستات (2) برای خودروهای مجهز به ریتاردر
اطلاعات فنی
دمای شروع باز شدن ترموستات: 82 ±2 درجه سانتیگراد
تسمههای محرک
توجه : قابل استفاده برای خودروهایی با یک دینام

1. تسمه محرک داخلی
2. تسمه محرک خارجی
CP – پمپ آب (مایع خنککننده)
F – فن
T – سفتکننده تسمه (تنسینر)
A – دینام
AC – کمپرسور کولر (تهویه مطبوع)
C – پولی دمپر میللنگ
I – هرزگرد (پولی هرزگرد)
موتور دارای دو تسمه چندشیاره (Poly-V) است.
تسمه داخلی، کمپرسور کولر (AC) و دینام (A) را به حرکت درمیآورد. تسمه خارجی، فن (F) و پمپ آب (CP) را به حرکت درمیآورد. هر دو تسمه دارای سفتکننده اتوماتیک (T) هستند و این سفتکنندهها کشش تسمه را حفظ میکنند. همچنین یک هرزگرد (I) وجود دارد تا تماس صحیح بین تسمه خارجی و پولی پمپ آب برقرار شود.
تسمههای محرک
توجه: قابل استفاده برای خودروهایی با دو دینام (24A360BL).

ترجمه روان جدول:
1. تسمه محرک داخلی
2. تسمه محرک خارجی
CP – پمپ آب (مایع خنککننده)
F – فن
T – سفتکننده تسمه (تنسینر)
A – دینام
AC – کمپرسور کولر
C – پولی دمپر میللنگ
I – هرزگرد (پولی هرزگرد)
موتور دارای دو تسمه چندشیاره (Poly-V) است.
تسمه داخلی، کمپرسور کولر (AC) و دو دینام (A) را به حرکت درمیآورد. تسمه خارجی، فن (F) و پمپ آب (CP) را به حرکت درمیآورد. هر دو تسمه دارای سفتکننده اتوماتیک (T) هستند که کشش تسمه را حفظ میکنند.
دو هرزگرد (I) نیز وجود دارد
• یکی برای اطمینان از تماس صحیح تسمه خارجی با پولی پمپ آب.
• دیگری برای اطمینان از تماس صحیح تسمه داخلی بین دینام و کمپرسور کولر.
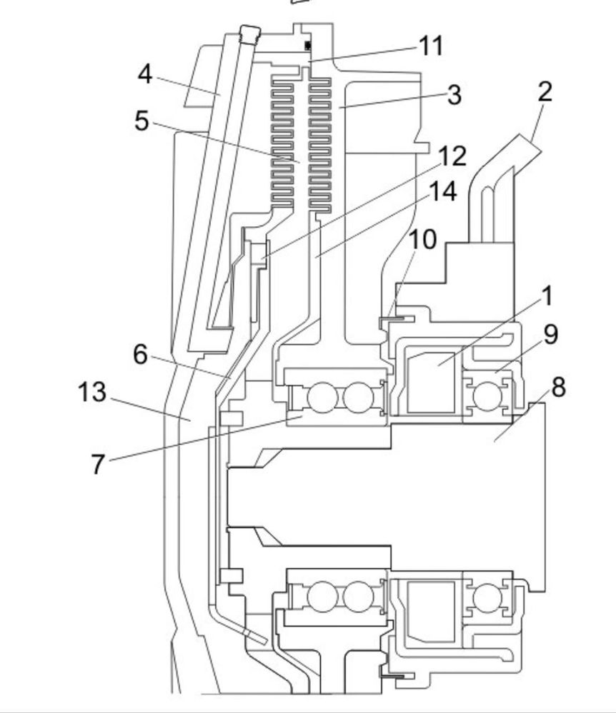
فن رادیاتور


1. سلونوئید
2. قطعه کوپلینگ
3. محفظه کوپلینگ
4. درپوش بیرونی
5. صفحه محرک
6. سوپاپ
7. بلبرینگ (محفظه کوپلینگ)
8. شفت فن
9. بلبرینگ (سلونوئید)
10. چرخ حسگر (سنسور سرعت)
11. کانال برگشت روغن سیلیکون
12. کانال ورود روغن سیلیکون
13. محفظه ذخیرهسازی
14. محفظه محرک
فن رادیاتور دمای موتور و همچنین تهویه مطبوع داخل کابین را تنظیم میکند.
فن رادیاتور از نوع ویسکوز (فن لغزشی با انتقال نیرو از طریق روغن سیلیکون بین موتور و فن) است که دارای عملکرد درگیر و آزادسازی برقی میباشد. درگیری و آزادسازی فن توسط سلونوئید (1) انجام میشود که سیگنالها را از ECM از طریق قطعه کوپلینگ (2) دریافت میکند.
سرعت فن تحت تأثیر پارامترهای مختلف قرار دارد.
در صورت نیاز، سیستمهای زیر میتوانند از طریق ECM افزایش سرعت فن را درخواست کنند:
• دمای مایع خنککننده
• سیستم پنوماتیک
• سیستم کولر (AC)
• دمای هوای پرفشار (Charge Air)
• ریتاردر (اختیاری)
• دمای ECM
توجه : همیشه سیستمی که بیشترین سرعت فن را بر اساس نیاز درخواست کند، در اولویت است. ECM سیستم مناسب را اولویتبندی کرده و سرعت فن را مطابق با نیاز تنظیم میکند.
صفحه محرک به شفت فن رادیاتور متصل است و همیشه با همان سرعت پولی فن میچرخد. محفظه کوپلینگ به فن رادیاتور پیچ شده و از طریق بلبرینگها روی شفت فن نصب میگردد و فن رادیاتور آزادانه نسبت به شفت میچرخد.
طوق بادگیر فن

در این نوع حلقه فن، هوای گرم از کمپرسور هوا از طریق ورودی (1) وارد شده و سپس از کانال هوای داخل حلقه فن عبور میکند. هوای خنکشده از طریق خروجی (2) به APM (مدولاتور تولید هوا) خارج میشود.
خنککننده هوای پرفشار (Charge Air Cooler)

موتور به یک خنککننده هوای پرفشار از نوع هوا به هوا مجهز است. این خنککننده در جلوی رادیاتور قرار دارد و دمای هوای ورودی را حدود 150 درجه سانتیگراد کاهش میدهد. هرچه دمای هوای ورودی پایینتر باشد، فرآیند احتراق تمیزتر انجام میشود. این موضوع باعث کاهش چشمگیر تولید NOx (اکسید نیتروژن) میشود که برای دستیابی به سطح پایین آلایندگی اگزوز ضروری است.
از آنجا که هوا خنکتر است، چگالی بیشتری دارد و در نتیجه جرم بیشتری از هوا وارد موتور میشود که باعث احتراق کارآمدتر سوخت خواهد شد. این موضوع توان موتور را افزایش میدهد.
هوای سرد همچنین فشار وارد بر پیستونها و سوپاپها را کاهش میدهد.
🏁 جمعبندی
سیستم خنککاری کامیونهای ولوو FH و FM شامل قطعاتی مانند واتر پمپ، ترموستات، فن رادیاتور و خنککننده هوای پرفشار (Charge Air Cooler) است که هر کدام نقش حیاتی در حفظ دمای استاندارد موتور ایفا میکنند. عملکرد صحیح این مجموعه باعث افزایش راندمان سوخت، کاهش آلایندگی، جلوگیری از داغ شدن موتور و افزایش طول عمر قطعات اصلی موتور ولوو میشود.
استفاده از قطعات اصلی سیستم خنککاری ولوو به رانندگان و مالکین کامیون کمک میکند تا از بیشترین بازدهی، کاهش هزینههای نگهداری و اطمینان از عملکرد بهینه موتور برخوردار شوند.
زد تراک (ZTRUCK) به عنوان مرجع تخصصی قطعات کامیونهای ولوو در ایران، مجموعهای کامل از قطعات اصلی سیستم خنککاری را با ضمانت اصالت و بهترین کیفیت ارائه میدهد تا کامیونهای شما همیشه در شرایط ایدهآل کار کنند.
